
从诞生之日至今,Foamposite 喷泡系列已经度过了 19 个年头,即将在明年迎来它的 20 周年。
在这两个 10 年的历程里面,无论是 Foamposite One/Pro 本身带来惊艳绝伦的太空鞋五彩演绎,还是 Foamposite 发泡材质在其他球鞋上的广泛应用,都让我们看到了 Foamposite 家族在 Sneaker 球鞋圈的重要地位。

被称为 “太空鞋” 的喷泡家族,作为一股不能被忽略的球鞋势力,在近年新鞋型频发的大环境下依然活力十足,还时不时带来惊艳全场的上佳作品。
玩球鞋,就不能不玩喷泡,而玩喷泡,下面这 10 点你就必须得知道!
喷和泡名称的来源
▽
Foamposite,是 Nike 自创的单词,意思是发泡合成材质,这个单词由 Foam 和 Posite 组合而成,也有国外鞋友简称其为 Foams。
“喷泡” 这一称号颇具中国味道,由于 Foamposite 家族有 One 和 Pro 两个鞋型,首发的蓝喷 Foamposite One “Royal” 则是 Penny 便士哈达威的战靴,所以从 Penny 的中文音译而来,就有了 “喷” 的称号。





而为什么是 One 不是其他,是因为哈达威当时的球衣背号是 1 号。
而 “泡” 则来源于 Pro 的音译,是不是也特别的形象!
还真不知道是谁这么有才,发明了这样的音译方法,选中国十大 Sneaker 人物,小编定要投他一票!
设计师为 Eric Avar
▽
能在 1997 年设计出这样一双 “逆天” 的篮球鞋,无论从科技创新还是从外观独具一格上,这双球鞋在当时都是彻底颠覆世人价值观的。设计师 Eric Avar 不但实现了这样的一个设想,还让它辉煌发展了近 20 年!


被称为 “Nike 十大球鞋设计师”、“50 个最具影响力的 Sneaker 行业人物之一”、“15 大球鞋设计师之一”,Eric Avar 不仅拥有良好的行业口碑,他的作品也是久经市场考验的精品!
除了 Foamposite,他还设计了 Air Flightposite 风一、Penny 1 代到 4 代、Hyperflight 街舞风雷、SHOX BB4、2K3。随后的 Huarache 2K4 和 Hyperdunk 同样是划时代的经典鞋型,他同 Kobe 紧密的关系从那个时期正式建立,设计了从 Zoom Kobe 3 到 Kobe 11 的各代黑曼巴战靴!

喷泡最开始并不是为 Penny 哈达威设计的
▽
一开始是为皮蓬量身打造,但据说皮蓬觉得鞋身太沉重,影响他在球场上的发挥,因而改成了 Penny 哈达威来代言。
如果皮蓬在当时接招的话,这双球鞋恐怕就要叫做 Foampsoite 33 了!因为皮蓬在公牛队的背号为 33 号。


外形的设计灵感来源于甲虫
▽
喷泡球鞋如此后现代高科技的视觉感受,其设计灵感并不是来源于科技产品,而是来自于大自然中经常见到的甲虫!

甲虫外壳独特的光泽和质感,以及鬼斧神工般的纹理呈现,让 Eric Avar 着迷,所以 Foamposite 的材质光泽效果,以及高低起伏的线条,都来源于大自然中这微不足道,又生命力顽强的小生物。
蓝喷也曾经被 NBA “禁穿”
▽
跟黑红 Air Jordan 1 被 NBA 联盟禁止类似,在 1997 年,联盟依然对于球鞋的颜色有着严格的管控,觉得球鞋上只有蓝色没有足够的黑色,无法搭配魔术队的蓝黑球衣!
所以 Penny 自己动手,用黑色马克笔在蓝喷上画上了黑色条纹,这款 DIY 配色在近年也被 Nike 投入市售,就是 Nike Air Foamposite One “Sharpie”。


第一次亮相赛场并不是在 NBA
▽
也不是 Penny 亲着上脚,而是由白魔鬼麦克毕比在 NCAA 赛场上抢先上脚!
那时候,麦克毕比还是亚利桑那野猫队的成员,首次亮相的日期是 1997 年的 3 月 23 日。当天 Penny 穿着了自己的二代签名战靴 Air Penny 2,几天之后他才正式上脚这款量身为其打造的 Foamposite One。


喷和泡的差别
▽
很多朋友还搞不清楚喷和泡的区别!One 和 Pro 不仅仅区别在名称上。
Eric Avar 在推出 Foampsoite One 之后,在继承外观和科技配置的基础之上,一方面去掉了 Penny 哈达威的个人元素,一方面又加入了更多 Nike 的品牌元素。所以硕大的立体 Jewel Swoosh,则是 Pro 相比于 One 在外观上的最大区别了!看看鞋身上有没有大钩子,是识别喷泡的最简单方式!







除此之外,还有更多的区别:
外底:One 是透明外底 + 人字纹理,带有 Penny 哈达威的 1 Cent Logo;Pro 则是橡胶底 + 分单元的紧密人字纹,以 Swoosh 呈现


鞋舌:One 是 1 Cent Logo;Pro 是椭圆 AIR 标签


后跟:One 是 1 Cent Logo;Pro 是 Swoosh 刺绣,并且鞋提上有 Foamposite 字样




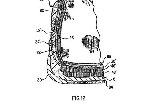
采用了双层 Zoom Air 的缓震方案
▽
由于最初是一款定位实战的性能篮球鞋,所以在设计上对于球场的适应也考虑良多。
在缓震方面,则采用了当时极为高端的双层 Zoom Air 方案!在一块全掌的 Zoom Air 气垫之上,后掌还增加了一Zoom Air 单元。所以后掌的 Q 弹效果会更为突出,单层的前掌则可以更为快速的响应。


采用全掌 Zoom Air 方案的球鞋不算多,而采用双层 Zoom Air 方案的球鞋则是屈指可数的顶配经典!包括了 Air Jordan 18、Air Jordan 19 以及 Nike Zoom LeBron 6。

发售价是百年不变的 ¥1749
▽
在中国区的售价近几年一直是 ¥1749 RMB,海外定价则是 $230 美元,Premium 精品配色则为 $250 美元。
相比于普通球鞋一千左右的售价,喷泡家族在好几年前就一直徘徊在两千左右,前提是你可以原价入手!

发售价的高昂,来源于成本。全鞋面的发泡材质,双层 Zoom Air 气垫,鞋面之下带有后跟 270° TPU 包裹,中底中部的碳板支撑,这些至今都还算是顶级的配置加起来,就构成了这样不低的售价!
并且由于制作工艺的原因,发泡鞋面模具的成本也相当高昂,也是无法忽略的重要成本这一!
入手的时候最好买大半码
▽
由于采用了内靴设计,喷泡在提供良好包裹性能的同时,也进一步挤压了脚部空间,所以一般在选购 Foampsoite One/Pro 的时候,注意比平时球鞋的尺码大出半码。


也有人表示不偏码,但这个问题还是需要注意的!
看了这么多,你还记得为何叫做 “喷泡” 吗?







